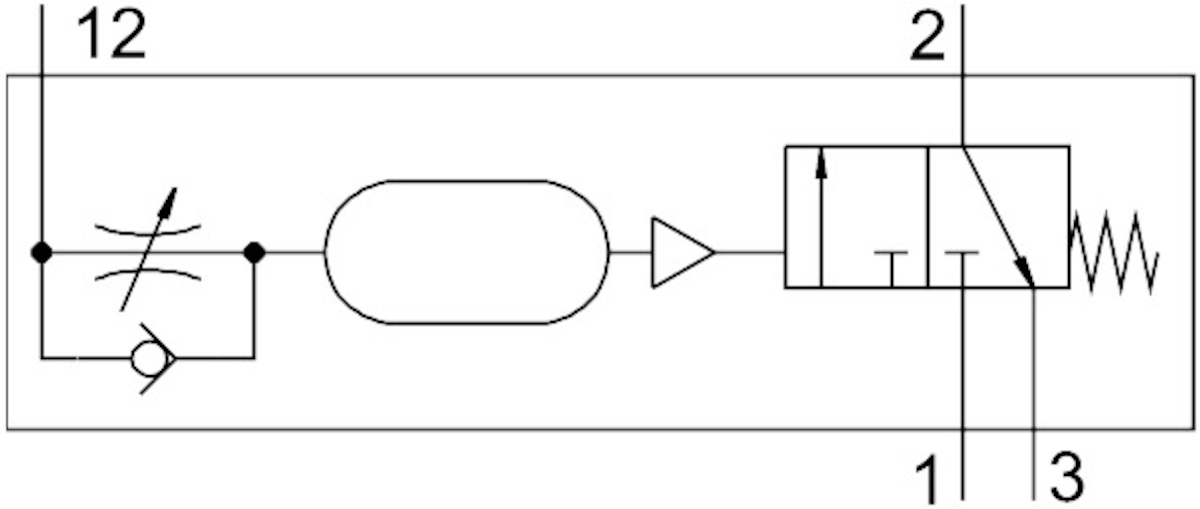
Zawory z opóźnieniem czasowym VZA, VZB, VZOA, VZO
| Symbol | 00995725 - 00995773 |
| Normalny przepływ nominalny (znormalizowany zgodnie z DIN 1343) | od 600 L2 |
| Regulowany czas opóźnienia | do 30 S |
| Medium robocze | Sprężone powietrze wg ISO 8573-1:2010 [7:-:-] |
| Uwaga dotycząca medium roboczego/sterującego | Możliwa praca z powietrzem olejonym (po rozpoczęciu olejenia trzeba je kontynuować) |
| Zgodność z LABS | VDMA24364-B2-L |
| Typ mocowania | Przy pomocy otworów przelotowych |
| Przyłącze pneumatyczne | G1/8 |



